头像女生宠物奶茶

微信可爱的宠物微信头像图片大全

脏脏包out了这款网红奶茶才是女生们的新宠,在家就能做

短裙上的洞洞是干嘛用的看到答案真相了哈哈哈哈

23岁农村女孩年入1亿,这届20万大学生有多野

酸了95后女生卖猫奶茶年入百万

女子反锁房中企图自杀只因老公不给买奶茶

珍珠奶盖奶茶

活下来一起喝奶茶啊昨夜几千网友刷屏接力救人,留言看哭了

嗲茶奶茶界新宠出没,测你是哪种奶茶女孩

可怕的宠物吃播

电话,地址,价格,营业时间

第二杯半价漳州这家喝过一次就念念不忘的人文茶饮,奶茶女孩们又有新宠了

小区合租花语水岸小区三房一厅次卧女生勿扰

逛街回来垃圾桶里捡了条小奶狗,它迷恋上了杯子当做自己的小窝

宠物奶茶宠物汉服......年轻创客瞄准宠物细分市场

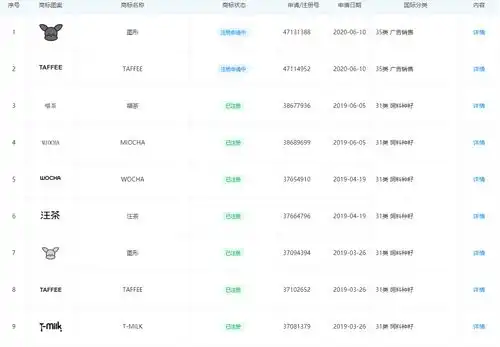
95后女生卖宠物奶茶年入百万,要加快申请知识产权保护